Porsche ima pametan plan
Lakši i snažniji hibridi na horizontu
Nova tehnologija tankih elektromotora mogla bi potpuno promijeniti način na koji nastaju sportski hibridi iz Zuffenhausena...
Porsche planira da svoje buduće hibride učini još lakšim i moćnijim nego do sada zahvaljujući revolucionarnim aksijalno-fluksnim elektromotorima. Ovi kompaktni i izuzetno efikasni motori, već korišćeni u modelima Ferrarija i Lamborghinija, sada bi mogli postati ključni element i Porscheovih budućih sportskih automobila.

Prema patentu koji je prijavljen Svjetskoj organizaciji za intelektualnu svojinu (WIPO), Porsche razvija hibridni pogonski sistem koji kombinuje lagani aksijalno-fluksni elektromotor proizvođača Yasa s benzinskim motorom. Patent se tehnički odnosi na sve putničke automobile, ali eksplicitno navodi „primjenu u sportskim automobilima“.

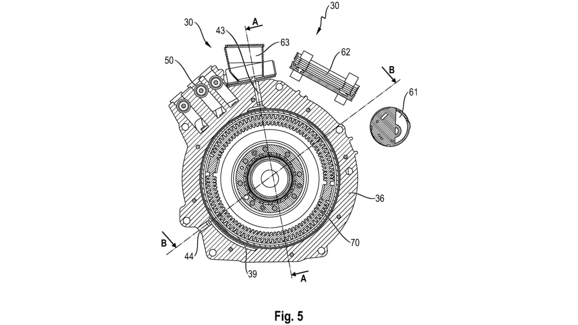
Ideja je jednostavna, ali genijalna. Umjesto klasičnog radijalnog (cilindričnog) elektromotora ugrađenog u kućište PDK mjenjača kao kod modela 911 Carrera GTS, novi disk agregat bi bio postavljen između motora i mjenjača, tačno unutar plivajućeg zamajca. Zahvaljujući svojoj ultra tankoj konstrukciji debljine svega osam centimetara sistem bi jedva povećao ukupnu dužinu pogonskog sklopa. Drugim riječima, motor i elektromotor mogli bi ostati iza vozača, bez potrebe za kompromisima u rasporedu.
.webp)
Patent predviđa i srednje ili zadnje postavljen motor, u uzdužnoj konfiguraciji, spojen s poprečnim mjenjačem sa dvostrukim kvačilom. Iako nije navedeno da li bi sistem mogao funkcionisati uz ručni mjenjač, ljubitelji „klasičnog“ Porsche iskustva sigurno se nadaju da bi to bilo moguće. Još jedna zanimljivost je da bi ovakva konfiguracija proizvodila manje toplote, zahvaljujući inovativnoj “zvono-komori” koja omogućava efikasnije hlađenje i benzinskog i električnog dijela pogona.
Najvažnije pitanje, naravno, glasi: koliku snagu bi ovaj sistem mogao da razvije?
Motori kompanije Yasa poznati su po ogromnom obrtnom momentu a u najjačim verzijama razvijaju i do 470 KS i 800 Nm. Poređenja radi, Ferrari SF90 koristi tri takva motora koji zajedno daju 217 KS, dok Lamborghini Revuelto iz dva izvlači 296 KS, a u kombinaciji s V8 i V12 motorima ukupna snaga prelazi 1.000 KS.
.webp)
Ako bi Porsche upotrijebio sličnu tehnologiju, rezultati bi mogli biti nevjerovatni. Trenutni elektromotor u 911 Carrera GTS Hybridu proizvodi oko 54 KS i 150 Nm, što u kombinaciji s bokser motorom daje 532 KS i 610 Nm. U budućoj verziji, sa turbo 3.6-litarskim motorom, ukupna snaga bi mogla da se popne na 800 ili čak 900 KS, zavisno od modela. Takav pogon bi savršeno odgovarao verzijama GT2, GT3 ili čak potencijalnom novom Porsche hipersportu.